科技动态
近日,我公司两项实用新型专利获得国家知识产权局授权,专利名称“一种组合式小青瓦制作模具”“一种竹工艺品用防虫、防腐处理一体装置”。
新专利的取得是公司坚持持续创新的新成果,我们始终将科技创新和产品研发作为公司发展的重要立足点,不断鼓励创新,持续加大科研投入,抢占科技制高点。
新专利的取得也有利于进一步完善蓝天集团知识产权保护体系,发挥公司自主知识产权优势,促进技术创新,增强公司的核心竞争力,为公司的再发展提供了强有力的科技支撑。
一种组合式小青瓦制作模具

我国历史悠久,建筑文化源远流长,古建筑、传统民居和乡村建筑基本以青砖青瓦构筑,具有“青砖黛瓦马头墙,飞檐翘角坡屋顶”的特点,而小青瓦以素雅,沉稳,古朴,宁静的美感,成为彰显文化底蕴,传承传统文化,及营造冬暖夏凉的良好人居环境的重要建筑元素。
随着乡村振兴的持续推进,历史建筑和古民居修缮、后建建筑的特色化改造、仿古建筑建设等越发受到重视,对小青瓦的需求逐渐增大。而乡村民宿、特色别墅建设也推动着小青瓦的快速发展,应用前景十分宽广。
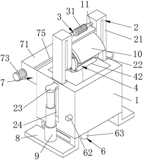
一种竹工艺品用防虫、防腐处理一体装置

近年,乡村振兴战略稳步推进,传统建筑的保护与传承、留住乡愁逐渐被提上议程。本土材料具有明显的地域性特征和传统文化烙印,成为挖掘与保护乡土特色文化的着力点。广西地区丰富的竹子资源,逐渐成为乡村振兴实施中常用的本土材料,其取材广泛、经济、节能、低碳,对降低成本、节约资源、降低碳排放、实现“碳中和”具有重要作用,成为乡村建设中的重要可持续性材料,被广泛运用在各个方面,各种竹工艺品层出不穷。在此背景下,竹工艺品的防虫防潮防腐问题具有极其重要的现实意义,对推动乡村振兴、低碳生活、环保节能都具有非凡的意义。